Seguramente muchos recordéis el Motorola Atrix, un smartphone que tenía la capacidad de, una vez acoplado en la carcasa de un portátil especial, potenciarlo y ofrecer una experiencia adecuada para una sesión de trabajo muy productiva.
Aquel concepto se ha repetido posteriormente, sobre todo con los ASUS Padfone -los Infinity han sido la última iteración de esa idea-, pero ahora podría tener un nuevo protagonista: Google, que ha patentado precisamente el mecanismo que caracteriza a estos «smartphones «convertibles».
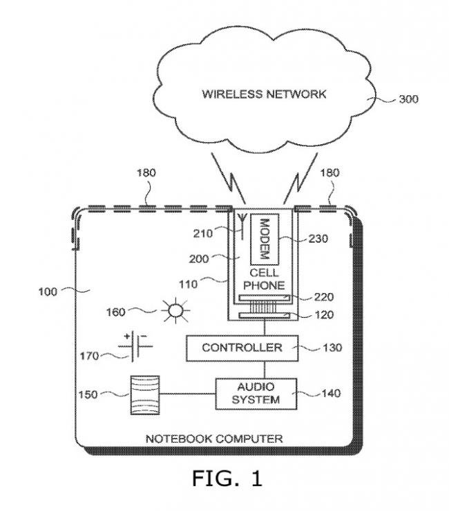
La patente no hable de un «Ordenador portátil y el ensamblaje de un teléfono móvil», que se supone permite darle conectividad, ofreciendo ambos elementos potencia y conectividad. Lo que no está claro es que esa patente tenga relación con ningún producto real, y ya en el pasado el hecho de registrar una patente no se tradujo en la aparición de dispositivos con esas tecnologías patentadas.
Aún así, la idea de Google podría ser un guiño a esa convergencia de la que tanto se ha hablado en los últimos tiempos y que podría unir por primera vez a Android y Chrome OS, aunque ambas plataformas parecen tener su futuro asegurado e independiente, si hacemos caso de las últimas declaraciones de los directivos de Google.
La idea parece tener sentido ya que los Chromebooks cobran sentido de verdad cuando los conectamos a Internet, y no siempre hay una WiFi cerca. Es cierto que el tethering está ahí como opción, pero tener esta nueva modalidad para reaprovechar nuestro smartphone y reconvertirlo en un Chromebook sería interesante. Veremos si el concepto se queda en eso o Google realmente aprovecha la idea.
Fuente xataka.com


